Als wereldberoemd autobedrijf streeft Mazda er al lang naar om het gewicht zoveel mogelijk te verminderen. Zijn vlaggenschip sportwagen, de MX-5 Miata, weegt minder dan 2.400 pond, dankzij de strategie van het bedrijf om het gewicht zo laag mogelijk te houden. Er moet echter een meer fundamentele verandering plaatsvinden in de lichtgewichtstrategie van het voertuig, en de Japanse autofabrikant lijkt op zoek te zijn naar nieuwe materialen voor zijn aankomende producten.

Nadat deze autofabrikant onlangs een patent had verkregen, heeft hij de methoden en processen voor de productie van een dergelijk voertuig gedetailleerd beschreven. Het patent beschrijft geen specifiek automodel, maar vermeldt dat deze vier deuren zal hebben. Helaas, als de fabrikant besluit deze autostijl te produceren, lijkt het onwaarschijnlijk dat het een sportwagen zal zijn; op basis van de bijbehorende processen is het zeer waarschijnlijk dat het een sedan is.

Het is daarom zeer waarschijnlijk dat Mazda deze technologie gaat onderzoeken om het gewicht van auto's te verminderen in het tijdperk van elektrificatie. Andere onlangs door de autofabrikant bekendgemaakte patenten geven aan dat het hard werkt om meer hybride en volledig elektrische voertuigen te creëren, die beide doorgaans zwaarder zijn dan pure verbrandingsmotoren. Eén manier om met deze extra massa om te gaan, is door deze van het volgende zwaarste onderdeel van de auto te verwijderen, na de aandrijflijn, de carrosserie en het chassis.
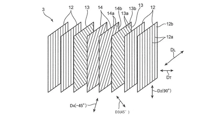
De autofabrikant lijkt vooral geïnteresseerd in het verweven van koolstofvezellagen in verschillende richtingen om een zogenaamd "quasi-isotroop" materiaal te creëren, wat betekent dat het een materiaal kan creëren dat sterk is in elke richting waar belastingen worden uitgeoefend. Deze gepatenteerde technologie definieert niet alleen hoe dit materiaal moet worden vervaardigd, maar somt ook verschillende profielen op voor verschillende onderdelen van de auto. De pijlers die het dak ondersteunen, de langsbalken van het frame en de crashbumpers hebben allemaal verschillende dwarsdoorsneden.

Door koolstofvezel in verschillende richtingen te ontwerpen, is het onwaarschijnlijk dat Maz door het ontwerpen van koolstofvezel in verschillende richtingen, Maz-composietmateriaal dat sterk is, een volledig koolstofvezelchassis zal produceren in hun reguliere autoproductieproces. In plaats daarvan zullen ze overwegen om alleen koolstofvezel te gebruiken op bepaalde delen van de auto, zoals dakstijlen, frontale botsingsstructuren, dorpelplaten en framerails.
Volgens de juridische details van het patentdocument heeft Mazda dit koolstofvezelchassis niet zelfstandig ontwikkeld; het patent is ook overgedragen aan Nippon Steel Chemical Materials Co., Ltd. Met andere woorden: dit bedrijf zal waarschijnlijk Mazda's partner worden bij de ontwikkeling van koolstofvezelstructuren.
Hoewel we er niet zeker van kunnen zijn wanneer en of Mazda-auto's met een koolstofvezelchassis uitsluitend op basis van deze publiekelijk bekendgemaakte patenttechnologie op straat zullen verschijnen, zal Mazda misschien binnenkort een hybride of elektrische sedan op de markt kunnen brengen die veel lichter is dan zijn concurrenten vanwege de gebruik van structurele materialen van koolstofvezel. De toekomst wacht op onze waarneming.

